Product Summary
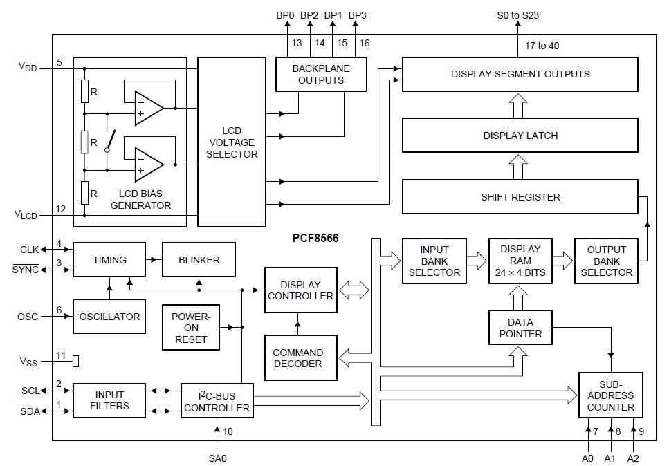
The PCF8566T/1118 is a universal LCD driver for low multiplex rates. The PCF8566T/1118 is a peripheral device which interfaces to almost any Liquid Crystal Display (LCD) with low multiplex rates. It generates the drive signals for any static or multiplexed LCD containing up to four backplanes and up to 24 segments and can easily be cascaded for larger LCD applications. The PCF8566T/1118 is compatible with most microprocessors or microcontrollers and communicates via a two-line bidirectional I2C-bus. Communication overheads of the PCF8566T/1118 are minimized by a display RAM with auto-incremented addressing, by hardware subaddressing and by display memory switching (static and duplex drive modes).
Parametrics
PCF8566T/1118 absolute maximum ratings: (1)II input current: -20 +20 mA; (2)IO output current: -25 +25 mA; (3)IDD supply current: -50 +50 mA; (4)ISS ground supply current: -50 +50 mA; (5)IDD(LCD) LCD supply current: -50 +50 mA; (6)Ptot total power dissipation per package: 400 mW; (7)Po output power: 100 mW; (8)Tstg storage temperature: -65 +150 ℃; (9)Vesd electrostatic discharge voltage, HBM: ±2000 V; (10)MM: ±200 V; (11)Ilu latch-up current: 100 mA.
Features
PCF8566T/1118 features: (1)Display memory bank switching istatic and duplex drive modes; (2)LCD and logic supplies may be separated; (3)2.5 V to 6 V power supply range; (4)Low power consumption; (5)Power-saving mode for extremely low power consumptioibattery-operated and telephone applications; (6)I2C-bus interface; (7)TTL and CMOS compatible; (8)Compatible with any 4, 8 or 16-bit microprocessor or microcontroller; (9)May be cascaded for large LCD applications (up to 1536 segments possible); (10)Cascadable with 40-segment LCD driver PCF8576C; (11)Optimized pinning for plane wiring iboth and multiple PCF8566 applications; (12)Space-saving 40-lead plastic very small outline package(VSO40; SOT158-1); (13)Manufactured isilicogate CMOS process.
Diagrams

![]() |
![]() PCF80 |
![]() Other |
![]() |
![]() Data Sheet |
![]() Negotiable |
|
||||
![]() |
![]() PCF84C00 |
![]() Other |
![]() |
![]() Data Sheet |
![]() Negotiable |
|
||||
![]() |
![]() PCF84C12A |
![]() Other |
![]() |
![]() Data Sheet |
![]() Negotiable |
|
||||
![]() |
![]() PCF84C12AP |
![]() Other |
![]() |
![]() Data Sheet |
![]() Negotiable |
|
||||
![]() |
![]() PCF84C21A |
![]() Other |
![]() |
![]() Data Sheet |
![]() Negotiable |
|
||||
![]() |
![]() PCF84C22A |
![]() Other |
![]() |
![]() Data Sheet |
![]() Negotiable |
|
||||
(China (Mainland))








